反井鉆機結構和性能特點
- 發布時間:2022-07-14
- 發布者: 小編
- 來源: 本站
- 閱讀量:722
鉆機的結構和性能特點
如圖1,RBM—200型反井鉆機主要由鉆機車1、泵車2、操作車3和鉆具4(包括鉆桿,鉆頭)以及輔助工具等組成。

1. 鉆機車 2. 操作車 3. 泵車 4. 鉆具
圖1 RBM—200型反井鉆機
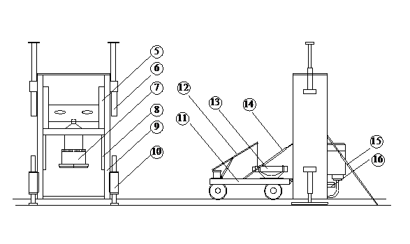
1. 鉆機車
鉆機車(如圖2)是鉆機的主機,它由鉆架9、動力水龍頭7、主液壓缸5、上(下)支撐6(10)、輔助卸扣裝置16和輸送鉆桿的機械手13等組成。

5. 主推力缸 6. 上支撐 7. 動力水龍頭 8. 滑軌 9. 鉆架 10. 下支撐
11. 鉆機平車 12. 轉盤吊 13. 機械手 14. 后拉桿 15. 前拉桿 16. 輔助卸扣裝置
圖2 鉆機車結構圖
(1)鉆架
采用兩個槽形架作立柱,上下用蓋板通過高強螺栓連成框形機架。架內兩側有導向軌供動力水龍頭滑動用,底盤可固定鉆桿,還可同扶正套相配。
(2)動力水龍頭
它是鉆機的核心部件,包括液壓馬達、齒輪箱和軌襯。動力水龍頭機頭部位既承受拉力又傳遞扭矩。
(3)主液壓油缸
采用雙作用主液壓油缸。工作時缸筒運動。活塞桿不動 為避免高壓油管經常運動造成磨損,進油口不設在缸筒上,而由活塞桿中心供油。
(4)上、下支撐
上支撐由兩個液壓油缸和加長桿組成,用以頂住巷道頂板。下支撐根據地面、并在不同使用條件設計了不同結構,前者用固定式下支承板結構,可與基礎直接用地腳螺拴連接,并在使用時采用液壓油缸支承螺桿承壓。上下支撐分別安裝在鉆架兩側,上下支撐實際上是兩個 的液壓千斤頂,它們都是用螺栓和銷軸與鉆架相接,他們的作用是調平找正鉆架、防止鉆架松動和克服來自鉆頭的反扭矩和反作用。
(5)輔助卸扣裝置(卡盤)
鉆機拆卸鉆桿靠動力水龍頭的反扭矩,為滿足拆卸鉆桿的需要,本機設計一個輔助卸扣裝置。它是一個油缸,導向滑道和棘爪組成。該裝置的扭矩大于液壓馬達的扭矩,將鉆桿抱死, 使用時液壓馬達和卸扣裝置共同起作用。
(6)轉盤吊及機械手
轉盤吊是由液壓油缸控制起升和下放的小型起重設備,可在360度范圍內吊運鉆桿。機械手將由轉盤吊送來的鉆桿送至鉆架中間,它由鉆桿抱卡、翻轉板及液壓油缸組成。
其中鉆架是鉆機的一個重要部件,它不僅支撐動力水龍頭,承受數十噸的拉力,還要承受來自鉆頭的反扭矩,要求它具有足夠的強度和剛度,一般情況下不允許自行拆卸鉆架。
動力水龍頭、滑軌和主推力缸用焊接的方式結合在一起,主推力缸放在滑軌的導向筒里,上端用螺母鎖緊,這樣三大部件便成為一個整體,主推力缸的活塞頭與鉆架底座鉸接,當主推力缸伸縮時便帶動動力水龍頭升降,從而產生鉆進所需的拉力和推力。動力水龍頭是鉆機的核心部分,它是動作的執行機構,液壓馬達將回轉運動通過兩級齒輪傳動傳遞給中心管和機頭,機頭由棘輪套、活動套和承載接頭等構成。動力水龍頭止端有洗井液接頭,與洗井液高壓軟管連接,旋轉與固定部分的密封采用石棉盤根。
2. 泵車
泵車由油箱、主液壓泵、輔液壓泵、驅動電機、冷卻器、吸回油過濾器和平車等組成,它將電能轉化為液壓能(即壓力油),不斷的提供給操作臺及各執行機構,完成鉆進工作,其外形尺寸為 。
3.操作車
操作車由操作臺、座椅和平車組成,操作臺為一框架結構,里面安裝了許多控制閥和壓力表,除轉盤吊在鉆機車上外,其他所有機構的動作均在此操作臺上控制,其外形尺寸為 。在該車上裝有操作臺和液壓系統的全部控制元件。
(1)回轉系統
該系統由主液壓泵提供壓力油,通過一組多路換向閥分配給液壓馬達,由換向閥控制馬達正、反轉。
(2)給進系統
該系統由輔助液壓泵供壓力油,通過另一組多路換向閥將壓力油分配給主液壓油缸。利用背壓閥調節鉆壓(或擴孔時的拉力)以保證恒壓鉆進。
(3)動力水龍頭快速升降系統
利用主液壓泵的大流量,通過控制液壓馬達的多路換向閥將壓力油分配給主液壓油缸實現快速提升和下放鉆具。
(4)輔助系統
包括轉盤吊液壓油缸,卸扣液壓缸、機械手液壓缸及上下支撐用的液壓缸的控制回路。
(5)濾油裝置和油冷卻裝置
在油箱的回油口與吸油口之間、在主液壓泵與輔助液壓泵的吸油口上分別裝有濾油器。另外,在主液壓泵的吸油口還裝有高壓濾油器。在冷卻器進油口設有低壓濾油器。
4. 鉆具
鉆具包括普通鉆桿、開孔鉆桿、穩定鉆桿、導孔鉆頭和擴孔鉆頭。 普通鉆桿有效長度lm,外徑182mm,材質為36CrMoA優質臺金結構鋼。開孔鉆桿的外徑加工精度和同心度要求比普通鉆桿高, 以保證開孔時鉆孔的垂直度。穩定鉆桿的外徑略小于導孔鉆頭直徑,其作用是保證導孔鉆進的垂直度。
本機具有下列特點:
(1)鉆機能力大,鉆井工藝簡單,能滿足煤礦等不同地質條件以及多種孔徑的施工要求。
(2)采用全液壓驅動,結構緊湊,重量輕,功率省。
(3) 安裝運輸簡單省力,迅速安全,主機的豎立、放躺以及調整不需要輔助設備。
(4)主機液壓系統簡單可靠,操作容易,大部分液壓元件以及密封元件與井下綜采設備液壓元件通用,便于維修更換。
(5)鉆桿絲扣采用API國際通用標準,可靠安全,互換性好,壽命長,鉆機還配有多種特制的開孔鉆桿和穩定鉆桿,能有效的防止井孔偏斜。
(6)鉆機工序實現了機械化作業,操作簡單安全,輔助時間短,改善了勞動條件,減輕了勞動強度。
(7)鉆機適用性強,可在較復雜地媒系巖層,如膨脹性巖層,斷層以及涌水量大的地址條件下施工。
(8) 鉆機時防爆型的,使用于各種瓦斯礦,擴孔有噴水裝置,可以降塵及冷卻刀具。
